RackNerd VPS促销套餐解析 - 荷兰机房全面测评
RackNerd近期促销的VPS套餐依然有货,支持多个美国和欧洲机房选择,带宽为1Gbps,配套SolusVM控制面板,且无需优惠码,直接购买即可享受优惠。本文还详细分享了RackNerd荷兰机房的硬件测试、网络性能、视频播放体验及网站搭建表现,帮助大家全面了解这款产品。
RackNerd VPS促销套餐详细参数和价格
目前RackNerd的促销套餐,支持在美国洛杉矶DC3、洛杉矶DC02(1.5G以上内存起)、圣何塞、达拉斯、芝加哥、纽约阿什本、加拿大、法国以及荷兰机房自由选择。美国机房价格相对优惠,欧洲机房价格稍高一些。所有套餐均配备1Gbps带宽和1个IPv4地址,并且内置SolusVM控制面板,购买时无需输入任何优惠码,直接下单即可。
| CPU | 内存 | 硬盘 | 流量 | 价格(美元/年) | 购买链接 |
|---|---|---|---|---|---|
| 1核 | 768M | 10GB SSD | 2TB | 10.28 | 点此购买 |
| 1核 | 1G | 25GB SSD | 4TB | 10.6 | 点此购买 |
| 1核 | 1G | 17GB SSD | 6TB | 10.98 | 点此购买 |
| 1核 | 1G | 24GB SSD | 4TB | 11.29 | 点此购买 |
| 1核 Ryzen 9 | 512M | 6GB NVMe | 800GB | 15 | 点此购买 |
| 1核 | 1.5G | 30GB SSD | 3TB | 16.88 | 点此购买 |
| 1核 Ryzen 9 | 1G | 24GB NVMe | 5TB | 18.18 | 点此购买 |
| 1核 | 2G | 40GB SSD | 7TB | 18.29 | 点此购买 |
| 2核 | 2.5G | 45GB SSD | 6TB | 18.66 | 点此购买 |
| 1核 | 512M | 30GB SSD | 1TB | 22.99 | 点此购买 |
| 1核 Ryzen 9 | 512M | 10GB SSD | 1TB | 22.99 | 点此购买 |
| 1核 | 1.5G | 25GB SSD | 6TB | 24.39 | 点此购买 |
| 1核 | 1.5G | 30GB SSD | 6TB | 25.95 | 点此购买 |
| 2核 | 2.5G | 40GB SSD | 10TB | 29.5 | 点此购买 |
| 3核 | 4G | 65GB SSD | 13TB | 29.98 | 点此购买 |
| 2核 | 3.5G | 65GB SSD | 14TB | 32.49 | 点此购买 |
| 3核 | 4G | 105GB SSD | 18TB | 43.88 | 点此购买 |
| 5核 | 6G | 100GB SSD | 20TB | 44.98 | 点此购买 |
| 4核 | 6G | 140GB SSD | 24TB | 59.99 | 点此购买 |
| 6核 | 8G | 150GB SSD | 40TB | 62.49 | 点此购买 |
以上流量均已翻倍!拿到VPS后,别忘了点此在LET留言订单号索要双倍流量,或者直接在本文末尾留言你的订单号,有专人帮忙申请流量翻倍。不管你是什么时候买的,只要之前没享受过翻倍流量,都能申请!
想了解更多最新促销,可访问RackNerd促销页面:http://www.vpsxxs.com/tag/racknerd/
RackNerd荷兰机房VPS硬件测试详解
这次测评选用了RackNerd荷兰机房的VPS,搭载E5-2680v2处理器,单核主频2.80GHz。系统实际检测内存为991MB,另外还有1GB虚拟内存(基于硬盘划分)。硬盘容量为25GB,实际可用约24GB,硬盘读写速度约384MB/s。这套硬件配置表现中规中矩,没有特别突出也没有明显短板,整体性价比还是挺不错的。VPS采用KVM虚拟化,且支持手动安装原生BBR加速,提升网络传输效率。
网络性能测试:上传下载速度与延迟表现
从速度测试来看,RackNerd荷兰机房VPS到国内和太平洋节点的下载速度多能超过500Mbps,欧洲节点速度会更快些。上传速度也颇为亮眼,国内机房上传均超过300Mbps,而欧洲机房更能达到800Mbps,整体表现非常适合对上传要求较高的用户。
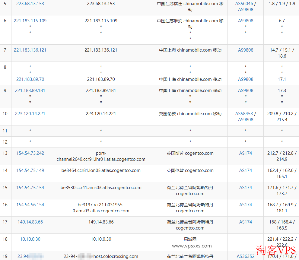
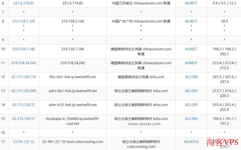
国内三大运营商访问延迟与路由分析
通常欧洲机房访问国内的延迟较高,这次测得平均约250ms,延迟稍高主要是因为绕路问题。具体路由如下:
电信去程路由先绕道美国,再经过英国到达荷兰,延迟自然偏高,回程则比较直连。联通去程和回程均通过德国机房直连,路径较优。移动去程通过英国机房直接连接,回程则以德国机房为主,整体路由比较常规且稳定。
网络质检显示联通的去程延迟最低,电信和移动延迟相对较高,尤其是移动丢包率稍多。三大运营商回程均走自家网络,电信走163,联通走4827,移动走CMI。到欧洲的德国、法国、英国机房延迟都非常低,适合对欧洲网络有需求的用户。
全球ping检测显示,RackNerd荷兰机房VPS到美国部分机房存在少量丢包,但对其它地区,包括中国机房基本无丢包,整体丢包率在欧洲机房中属于较低水平,网络稳定性可圈可点。
视频播放体验与流媒体解锁能力
测评机器确认拥有荷兰原生IP,能够原生解锁荷兰TikTok、荷兰Netflix以及部分欧洲人工智能平台和大部分欧洲流媒体资源。如果你有相关需求,这点非常实用。
IP质量检测显示这台VPS使用的是标准IDC机房IP,属于原生IP,IP纯净度一般,但所有邮件相关端口正常开放,支持邮件通信。基于25端口的开放情况,推测有不少用户可能用来做邮件营销,难怪之前会出现脱销情况。
我本地为联通宽带,使用RackNerd荷兰机房VPS观看YouTube时速度轻松达到8万+Kbps,4K画质播放非常顺畅,表现相当棒。结合之前三网的上传速度和直连回程,预计电信和移动用户视频体验也能达到相似水准。
利用RackNerd荷兰VPS搭建网站实践
我选购的是美国洛杉矶DC3机房的入门最低配置,选择荷兰机房后安装宝塔面板并搭建LNMP环境,实际运行后内存还剩余678MB,硬盘剩余约18GB,非常适合搭建个人小型网站。整体资源够用,性能稳定,适合初学者和个人站长。
RackNerd的促销VPS套餐价格实惠,覆盖了美国多个主流机房及欧洲热门机房,带宽充足且易用性好。荷兰机房整体硬件表现均衡,网络上传下载速度都不错,视频播放流畅且流媒体解锁能力强。网络路由方面,联通用户体验最佳,电信移动存在绕路和丢包但仍可接受。对想要入手经济型稳定VPS,尤其是需要欧洲节点的用户,RackNerd荷兰机房值得考虑。























