AkileCloud澳门VPS评测 - 硬件性能与网络实测详解
说到性价比不错的澳门VPS,AkileCloud最近的促销套餐相当吸引人。2核CPU加2GB内存,10GB硬盘空间,月费只要90元,真心适合预算有限又想尝鲜的朋友。点这里了解最新优惠
硬件配置及性能表现
AkileCloud澳门VPS搭载的是AMD EPYC 7302处理器,单核主频3.0GHz,性能表现相当稳健,完全能满足一般网站、应用的需求。内存读取显示接近979MB,没有虚拟内存开启,硬盘容量为20GB,读写速度被限定在约100MB/s左右。这种限制其实挺合理,防止同机房的邻居资源被恶意抢占,保证大家的使用体验相对平衡。
网络表现与带宽测试
AkileCloud澳门VPS配备的是5G的网络端口,这意味着上传和下载带宽理论上很充足。实际测速显示,国内外的下载速度经常超过2G,对于大家比较关注的上传速度来说,内地节点大约稳定在250Mbps上下,亚太地区更是超过1Gbps,尤其是香港节点带宽跑满的表现非常抢眼。欧美地区节点上传速度也有约500Mbps,算是相当不错了,毕竟竞争激烈,能够稳定输出这样的带宽可见运营商的实力。
延迟和路由分析
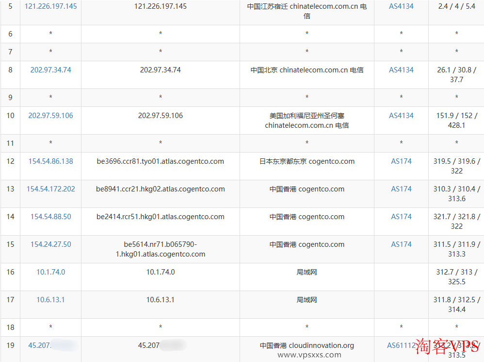
说到延迟,AkileCloud澳门VPS到国内的平均ping值约为304ms,的确偏高,感觉像是绕了一大圈。深入看三大运营商的路由路径,电信和联通的去程和回程大多数都会先绕到美国,再从美国到日本或其他节点,最后才到香港或澳门,整体路径相对曲折。移动网络的回程则是直接连接回国内,速度和延迟表现相对更好一些。
🔍猜你喜欢
-
外国VPS
WePC中东VPS测评 - 迪拜原生IP网络表现解析
WePC中东VPS位于迪拜,提供1核512MB内存、10GB存储、100Mbps带宽和原生IP,价格为24.9加元/月,支持支付宝、PayPal和信用卡付款。网络表现方面,国内访问延迟较高且稳定性一般,建议通过中转服务器访问,海外网络稳定性较好。适合需要中东节点和原生IP的跨境外贸用户使用。
2025-12-11 123 -
欧美服务器推荐
萤光云越南VPS测评 - 胡志明市机房网络稳定解析
萤光云越南VPS位于胡志明市机房,支持1~1000Mbps带宽,起步价49元/月,支持Linux和Windows系统。网络稳定,丢包率低,但国内访问延迟较高,建议通过香港大带宽服务器中转以优化体验。配置灵活自定义,适合需要东南亚节点的用户,性价比高,支付方便,支持支付宝。整体推荐指数4星。
2025-11-20 152 -
香港vps
CSTserver日本VPS测评 - 网络表现与超值价格分析
CSTserver日本VPS位于东京,最低配置1核1GB内存,价格5.48美元/月,支持支付宝付款和10Gbps DDoS防护。网络延迟较低,电信线路表现最佳,但国内访问稳定性一般,丢包率较高。套餐丰富,性价比高,适合预算有限且对稳定性要求不高的用户。购买流程简便,适合入门使用。
2025-11-17 259 -
外国VPS
NovixLink美国家宽VPS测评 - 双ISP原生住宅IP优势解析
NovixLink美国家宽VPS位于加州萨迪纳,主打双ISP原生住宅IP,IP纯净度高,价格实惠(最低6.29加元/月),支持支付宝付款。网络方面,国内直连稳定性较差,丢包率略高,建议配合海外中转服务器优化体验。整体适合对IP质量有较高要求的用户。
2025-11-16 206 -
欧美服务器推荐
AccuWebHosting英国VPS测评 - 伦敦机房性能与价格解析
AccuWebHosting的英国VPS位于伦敦机房,最低配置为2核CPU、2GB内存、60GB存储、1.5TB流量,价格18.99美元/月,支持PayPal和信用卡支付。网络测试显示国内三网平均延迟约200ms左右,稳定性良好但电信网络偶有丢包。优势在于配置较高、网络较稳定且无需实名认证,缺点是不提供原生IP。购买流程简单,适合需要海外稳定VPS的用户,但不支持支付宝。
2025-10-27 184 -
外国VPS
AkileCloud日本JPHyper VPS测评 - 硬件性能与网络体验解析
AkileCloud日本JPHyper VPS搭载Intel Gold 6133双核处理器,硬盘读写稳定在100MB/s。网络下载速度接近2Gbps,上传速度普遍超过300Mbps,但国内三网路由均绕道美国,导致延迟较高。IP为日本原生机房IP,支持多种日本本土流媒体解锁,视频播放流畅支持4K。适合面向海外用户建站,国内访问体验受限,建议选择高配套餐。
2026-02-15 91 -
云服务器
荫云台湾原生IP VPS测评 - 高速稳定视频建站首选
荫云台湾原生IP VPS配置为2核2G内存、20GB SSD,300Mbps带宽,价格实惠。硬件性能稳定,读写速度达276MB/s,网络上传下载均跑满带宽。延迟方面电信回程较高,联通和移动表现较好。支持台湾原生IP,多流媒体解锁能力优异,视频播放流畅,适合搭建外贸网站和面向东南亚用户。整体性价比高,适合对网络速度和IP质量有较高要求的用户。ErrorAI0001
2026-02-09 88 -
欧美服务器推荐
LOCVPS湖南移动VPS测评全面解析-硬件性能与网络体验评测
LOCVPS湖南移动VPS采用AMD EPYC 7R13处理器,4核15.7G内存,硬盘读写速度达539MB/s,性能优越。网络下载速度达450M,上传280M,国内平均延迟27ms,适合内地用户。IP纯净度高,适合建站及远程Windows使用,资源充裕,整体表现稳定,性价比突出。
2026-01-08 96 -
香港vps
吉云香港CMI VPS深度测评—硬件性能与网络体验解析
吉云香港CMI VPS搭载E5-2697A v4处理器,内存991MB,硬盘读写达503MB/s,硬件性能良好。200Mbps带宽,国内上传速度180M以上,延迟约89ms,三网回程均走CMI直连线路。支持香港原生IP,能解锁多种港区流媒体,视频播放流畅,4K秒缓冲。安装宝塔面板后剩余资源充足,适合搭建面向国内及东南亚用户的小型网站。整体网络和性能表现稳定可靠。
2025-12-21 157 -
云服务器
搬瓦工美国纽约CN2 GIA VPS测评 - 硬件性能与网络体验详解
搬瓦工美国纽约CN2 GIA VPS配置Intel Xeon双核2.60GHz处理器,内存约1GB,硬盘读写速度828MB/s。网络方面,下载宽带高达1.3G,上传速度稳定在400M以上,三大运营商均走直连优化线路,延迟约212ms。支持美区TikTok、Netflix等流媒体解锁,IP为机房纯净IP,适合视频直播和建站使用。实测YouTube 4K播放流畅,搭配宝塔面板可搭建小型网站,整体性能稳定,适合面向国内用户的美国东部机房需求。
2025-09-20 261 -
香港vps
RackNerd爱尔兰VPS深度评测 - 硬件性能与网络体验解析
RackNerd爱尔兰VPS采用Intel E5-2690v4处理器,性能稳定,硬盘读写速度达664MB/s。网络方面,下载上传速度均超过300Mbps,但到中国延迟较高,电信线路绕美回程,移动线路相对最佳。支持爱尔兰原生IP,能解锁爱尔兰Netflix和TikTok等流媒体,观看4K视频流畅。适合面向欧洲用户建站,建议选内存较大的套餐。整体性价比高,适合预算有限且需欧洲节点的用户。
2025-07-20 446 -
云服务器
HostDare美国AMD VPS深度测评 - 性能与网络实测全面解析
HostDare美国AMD VPS采用单核2.0GHz的AMD EPYC处理器和高速NVMe硬盘,性能稳定。网络表现优秀,200Mbps带宽实测上传下载均满速,国内平均延迟约164ms,三网均走直连或GSL智能路由,确保低延迟和稳定。具备美国原生IP,支持美区Netflix、TikTok等主流流媒体解锁,IP纯净无风险。最低配可顺畅观看4K视频,适合小型网站建站,但建议高配套餐以获得更充足资源和带宽。
2025-07-18 344 -
欧美服务器推荐
搬瓦工弗里蒙特MINICHICKEN VPS测评 - 硬件网络全面解析
搬瓦工美国弗里蒙特MINICHICKEN VPS具备单核2.6GHz CPU、约1GB内存和20GB高速硬盘,硬件性能稳定。网络方面,下载速度达到10Gbps,国内三大运营商上传均超300Mbps,电信线路延迟低至150ms,整体访问速度优异。支持美国TikTok及部分美区流媒体解锁,视频播放流畅,4K无压力。搭建网站资源充足,适合面向国内用户的小型站点,性价比高且稳定性佳。
2025-05-24 319 -
外国VPS
ColoCrossing加拿大多伦多VPS评测—硬件性能与网络表现全面解析
ColoCrossing加拿大多伦多VPS采用E5-2683v4处理器,配备约1GB内存及25GB高速硬盘,硬盘读写速度达1.2GB/s,性能稳定。网络下载速度达800Mbps,上传约200Mbps,三网用户均适用,平均延迟214ms,路由经过美国节点,属非优化线路。支持美国TikTok解锁,但Netflix不可用,适合流媒体播放和建小型网站,宝塔面板安装后资源充足,整体性价比高,适合面向中国用户使用。
2025-05-21 381 -
香港vps
HostKVM香港三网优化VPS测评 – 性能、线路与解锁能力全解析
HostKVM香港三网优化线路VPS采用E5-2697A v4双核CPU,配备6GB内存和60GB硬盘,带宽35Mbps,三网往返均为直连,电信走CN2 GIA,联通走4837线路,移动走CMI线路。上传速度联通和移动表现优异,电信稍差。IP解锁能力灵活,IPv4为新加坡原生IP,IPv6为香港原生IP。整体性能稳定,适合面向国内用户建站和流媒体使用,尤其适合联通和移动宽带用户。
2025-05-21 729
