WePC泰国TikTok专用VPS测评 - 硬件性能与网络表现解析
想找适合TikTok运营的VPS?WePC泰国TikTok专用VPS带来了不错的体验,本文带你全面了解它的硬件配置、网络速度和流媒体解锁能力,帮你判断是否值得入手。
WePC泰国TikTok专用VPS硬件表现怎么样?
这台VPS用的是Xeon Gold 6138处理器,单核频率2.00GHz,算是性能不错的企业级CPU。内存检测显示有487MB,未开启虚拟内存。硬盘容量10GB,并且读写速度平均能达到148MB/s,硬盘性能挺给力的。整体来看,CPU表现稳健,硬件配置虽不是顶尖,但满足TikTok日常使用绰绰有余。VPS采用的是KVM虚拟化,用户还能手动安装原生BBR,网络优化有保障。
网络速度实测:国内外带宽表现如何?
从实际测速看,不论是国内还是国外大部分节点,上传下载速度大多数情况下都能跑满带宽。国内用户最关心的上传速度表现也不错,除了电信线路上传速度较慢外,其他线路基本都能跑到45Mbps以上,带宽资源很充沛。
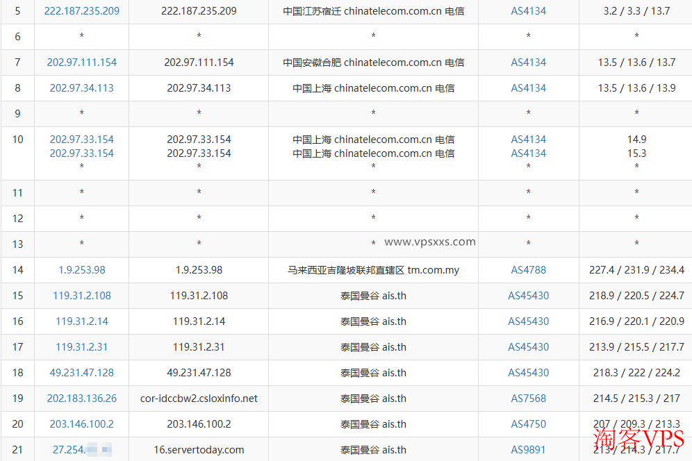
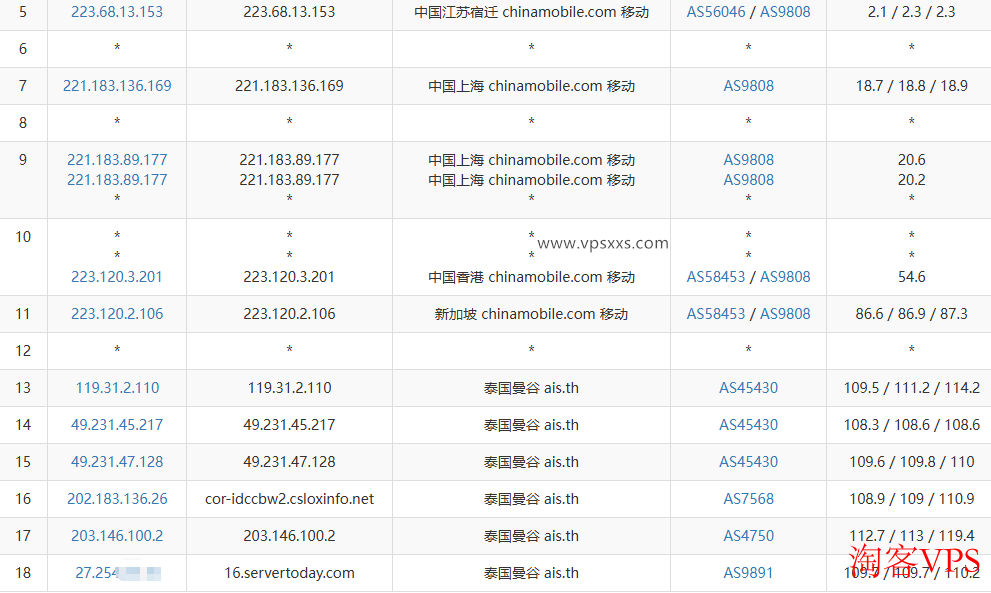
国内各大运营商路由及延迟分析
整体延迟约为216ms,这在泰国机房来说算是不错的表现。由于中国到泰国的网络通常需要绕行,下面我们具体看电信、联通和移动的路由情况,帮助你了解实际连接质量。
电信线路去程先绕到马来西亚再到曼谷,虽然是东南亚区域,但绕路导致延迟偏高。回程多数线路绕行欧洲或美国,延迟也随之升高,不过广州电信回程走直连,表现较好。
联通线路去程走新加坡直连,延迟相对较低;但回程绕过美国,延迟升高不少。
移动线路表现最优,去程和回程均经过新加坡直连,延迟最低,建议用移动带宽的朋友优先考虑。
整体网络质量体检显示,电信去程延迟较高,联通和移动线路延迟较低。回程路由往往走成本较低的路径,部分节点绕路影响延迟。新加坡和香港机房中转能有效降低延迟,是不错的选择。
丢包方面,VPS到美国和国内部分节点有轻微丢包,属于一般状况,没有严重影响体验。
流媒体解锁与IP质量评估——泰国原生IP怎么样?
这台VPS使用的是泰国原生IP,能够顺利解锁泰国TikTok、泰国Netflix、泰国人工智能平台以及所有本地流媒体平台。流媒体播放能力非常出色,无需额外配置就能享受正版优质内容。
通过多个IP检测网站来看,这个VPS的IP被认定为商业带宽的泰国原生IP,有些数据库认为是家庭宽带IP,也有认为是数据中心IP,整体IP纯净度一般。令人惊喜的是25端口开放,支持大部分邮箱正常通讯,对于邮件营销使用者来说是福音。
看视频体验:泰国机房流畅到让人惊讶
使用联通带宽的本地网络测试,观看YouTube视频速度高达9万+kbps,轻松播放4K超高清画质,画面非常流畅。综合前面的路由测试,假如你用的是移动带宽,视频速度预计会更快;电信用户可能会遇到速度瓶颈。
谁适合用WePC泰国TikTok专用VPS?
这款VPS硬件配置稳定,网络带宽充足,且支持原生泰国IP流媒体解锁,非常适合做TikTok运营和视频内容发布。网络延迟方面,移动用户体验最佳,联通次之,电信用户则可能遇到绕路和速度限制。若你需要一台能够稳定访问泰国本地服务且享受流畅视频体验的VPS,WePC泰国TikTok专用VPS值得考虑。
想了解最新优惠活动,可以访问 WePC最新促销。












