WePC美国洛杉矶家宽直播VPS评测 - 原生双ISP低延迟体验
想了解WePC全球TikTok和VPS其他机房的详细情况?别忘了点这里入手哦!
友情提醒,WePC美国家宽系列不能用优惠码,不过其他系列还是能享受优惠的:
优惠码 WePCMON90 可享受9折优惠,适用于月付或季付(台湾、新加坡及美国家宽系列不支持)。
优惠码 WePCYEAR80 可享受8折优惠,适用于年付(同样不支持台湾、新加坡及美国家宽系列)。
最新促销活动详情可以访问 这里 查看。
硬件配置与性能表现
先来看看WePC这款美国洛杉矶GTT-NTT家宽直播VPS的硬件情况。它搭载的是AMD EPYC 7662处理器,配备双核2.0GHz频率,CPU性能表现出色。内存显示为487MB,没有默认虚拟内存配置。硬盘容量为10GB,实际读写速度平均达到544MB/s,硬盘性能相当不错。整体硬件配置稳定扎实,且采用了KVM虚拟化技术。用户还手动安装了原生BBR,优化了网络传输性能。
网络表现和延迟分析
在网络测试环节,VPS小学生博客的老朋友们知道,通常会做上传和下载速度测试。但奇怪的是,一用脚本直接测速,WePC这台洛杉矶VPS就掉线了,疑似机房把它当成恶意攻击封了流量。所以这次主要看延迟表现。
从国内的ping测试来看,平均延迟约171ms,这个成绩相当亮眼。毕竟美国双ISP的线路通常180ms都算不错了,171ms的延迟直接低了不少。更关键的是,这款产品页面没有特别注明有优化线路,但实际延迟表现却很优秀,非常适合直接拿来做TikTok直播。
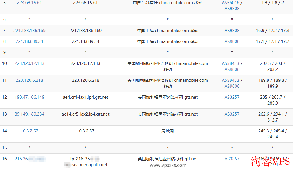
三网路由详解
电信去程经过圣何塞直连洛杉矶,延迟很低,回程则是通过联通AS9929线路直连,保证了低延迟。联通去程走自己AS4837线路,回程则通过优化线路AS10099+AS2292直连。移动去程走CMI线路,虽延迟稍高,但回程同样借助联通AS9929线路走优化路径。三网去程都实现直连,回程强制走联通AS9929优化线路,堪称优化线路服务器的典范。
整体网络质量体检显示,三网去程延迟普遍较低,尤其联通表现更优。回程全部走联通9929线路,保证了稳定和速度。到同机房的洛杉矶节点无延迟,到其他海外节点依然保持低延迟,网络体验非常不错。
此外,ping.pe丢包率测试显示,WePC这台VPS访问国内外节点时基本没有丢包,丢包率极低,网络稳定性很有保障。
流媒体解锁与IP属性
测试表明,这台WePC洛杉矶VPS拥有美国原生IP,可以轻松解锁美国TikTok、Netflix、人工智能平台以及大多数美区主流流媒体平台,满足多种需求。
据ipip.la的数据,这款VPS使用的是双ISP GTT家宽IP,完全是美国原生带宽IP。IP质量体检报告也确认了它的纯净度和原生属性,大部分数据库将其归类为美国家宽IP,流媒体解锁能力全绿。ping0.cc进一步确认它是双ISP美国家庭带宽IP,纯净度同样很高。毫无疑问,这是一台真正的原生美国家宽VPS。
视频播放体验
VPS小学生本人本地使用的是移动宽带,用这台WePC洛杉矶VPS看视频,测速显示9万+ kbps的下载速度,4K画质播放非常流畅。虽然速度比不上美西那些纯优化线路,但对于一台美国双ISP服务器已经相当出色,做TikTok直播基本不需要再走任何中转。尤其因为三网回程都走联通AS9929优化线路,如果你本地是电信宽带,视频体验同样不错;本地是联通宽带的朋友,速度可能会更快哦。




















