荫云香港HGC VPS测评 - 性能网络与流媒体体验详解
这次我们来聊聊荫云旗下香港HGC VPS,配置是一核CPU、2G内存、20GB SSD,还有2000GB月流量和300Mbps带宽,价格挺实惠,9.8美元/月,买的时候别忘了用优惠码 vpsxxs 。想入手的朋友可以点这里看看。顺带告诉大家,荫云当前的最新促销活动也在这儿:荫云促销信息,有兴趣的别错过。
硬件配置及性能表现
硬件方面,这台VPS用的是Xeon系列处理器,不过频率只有2.0GHz,双核设计还算可以。内存显示接近2GB,不过后台安装系统时你可以自己选虚拟内存,范围0到1.5G,默认是512M。硬盘20GB,读写速度约291MB/s,表现属于入门级别。整体硬件算是够用,VPS用了KVM虚拟化,也能手动装原生BBR加速,适合小伙伴们测试用。
网络速度及路由情况
带宽标称300M,实际测速国内外下载速度大多稳定在250M以上。内地上传速度对用户来说更重要,这台机器能达到190M左右,港台和亚太节点则几乎跑满300M。上传速度整体感觉不错。
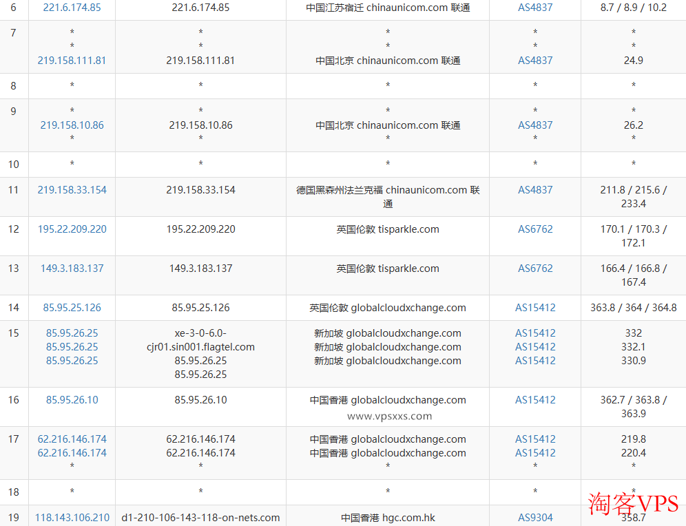
路由揭秘:三大运营商绕路情况说明
三网路由都绕得挺远,电信先去美国再返回香港,延迟自然高;联通先跑欧洲再到新加坡,最后到香港,回程也是绕美国;移动去程绕美国和日本,回程除广东移动直连外,其他线路都绕美国或新加坡。总的来说,网络延迟较高,三网路由都比较绕,影响体验。
从网络质量报告看,延迟数值偏高,比如电信163和联通4837,移动CMI也在这个区间。虽然到香港和新加坡不错,但去其他区域网络表现一般。
流媒体观看体验及IP质量分析
这台VPS用的是香港家宽IP,原生IP属性。它能顺利解锁香港的Netflix、Disney+和大多数本地流媒体平台,满足看剧需求。值得一提的是,部分平台如TK和某些AI平台本身就不支持香港地区的服务,跟IP没关系。
IP检测方面,ipinfo.io显示是双ISP,属于纯正的香港ISP线路。各类IP质量检测工具均认为这是纯净的家宽IP,没有风险。ping0.cc也确认是家庭宽带,IP质量令人满意,网络环境相当干净。
用联通本地带宽测试看YouTube,速度超过5万KB/s,能流畅播放4K视频,不过缓冲略长。内地上传带宽接近200M,理论上够用,但受限于三网绕路和延迟,看视频体验一般。要是看视频需求大,建议配合中转服务器会更顺畅。
网站搭建体验
安装宝塔面板并配置默认LNMP环境后,系统占用了418M内存和5GB硬盘空间,剩下资源足够支撑一个小型网站。考虑到三网路由对内地用户不太友好,这台VPS不太适合针对内地用户的网站。但是如果面向东南亚或者香港本地访问,还是挺合适的。


























