搬瓦工香港CN2 GIA VPS深度测评–硬件网络全解析
最新搬瓦工促销信息在这里:http://www.vpsxxs.com/tag/banwagong/
搬瓦工特价套餐补货群:https://qm.qq.com/q/zmVNKxSHrG
搬瓦工香港CN2 GIA VPS硬件性能实测
先聊聊这台搬瓦工香港CN2 GIA VPS的硬件情况吧。它搭载的是AMD EPYC系列处理器,双核2.8GHz,性能杠杠的。不少老用户吐槽搬瓦工以前用的CPU性能不行,但这回全面升级成了AMD,实力提升不少。内存检测显示有2063M,外加1023M虚拟内存,虚拟内存这配置对于国内用户来说真是刚刚好。
硬盘空间显示有39.4GB,最关键的是硬盘的读写速度高达1GB/s,速度非常给力。整个硬件表现堪称优异。虚拟化技术方面,采用的是KVM,后台自带了BBR加速,能提升网络传输效率。
网络表现实测:超低延迟与多线路优化
官方标称这款VPS是1Gbps带宽,但用Speedtest测出来实际是10Gbps,真有点惊喜!不过奇怪的是,内地的测试节点没跑出速度,估计是节点限制。反倒是香港和台湾节点下载几乎能跑满带宽,上传速度也超过1Gbps,表现非常出色。至于欧美方向,速度一般般,主要还是靠近亚洲地区的网络优化优势。
这款VPS到内地的平均延迟只有42ms,延迟非常低,体验几乎跟内地机房没差别。特别是南方地区用户,延迟甚至更低。看起来线路做了特别的优化,延迟控制得相当不错!
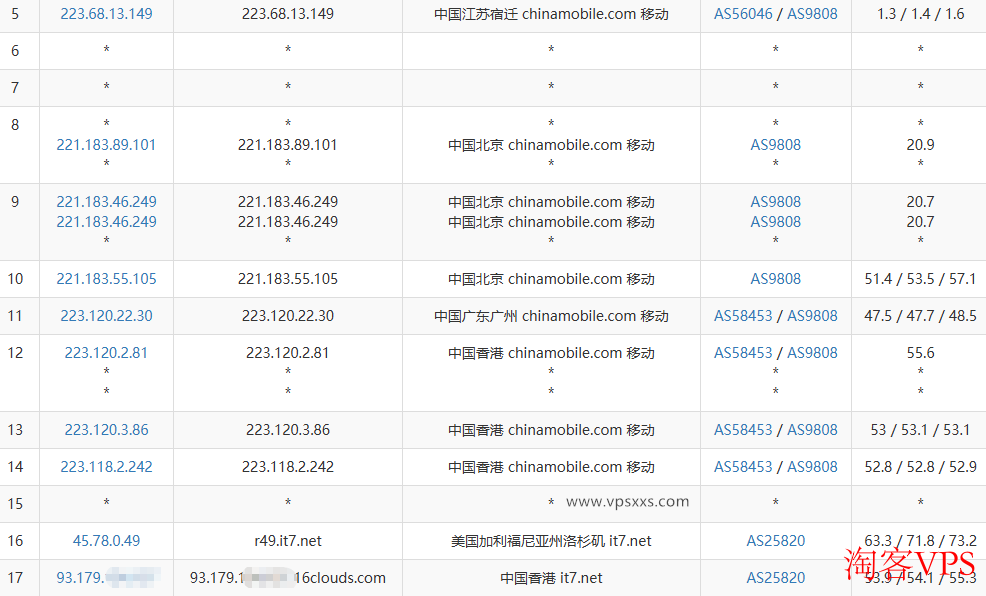
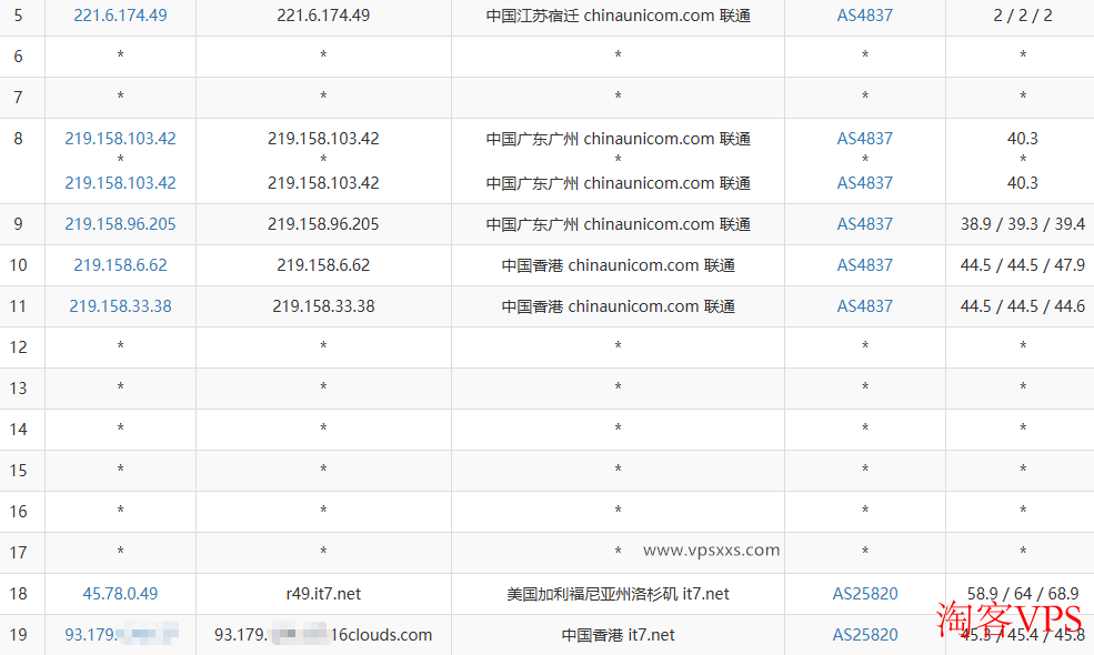
三网路由解析(电信、联通、移动)
简单说下路由情况:电信去程从省内就开始走59.43的CN2 GIA线路,延迟表现非常直连,回程也是走的59.43线路,完全是标准的CN2 GIA优化线路。联通去程走的是AS4837线路直连,回程绕道电信59.43 CN2 GIA线路。移动去程是AS9808的CMI线路直连,回程同样绕道电信CN2 GIA线路。总结一下,三网回程都强制走电信的CN2 GIA直连线路,去程则各走自家的直连线路,整体网络优化相当到位,适合国内多地用户使用。
流媒体解锁能力体验
这台VPS被检测为香港原生IP,能直接解锁香港Netflix、香港Disney+和部分香港热门流媒体平台,满足多数港区流媒体需求。适合喜欢看港区内容的朋友们。
从ping0.cc和ipinfo.io的检测结果来看,这IP是典型IDC机房IP,类型显示为“hosting”,没有住宅IP属性。IP质量体检报告显示IP纯净度一般,属于广播IP范围,但25端口开放,常见国外邮箱服务支持正常通信。总体来说,这IP适合搭建服务器和邮件服务,但不适合作住宅IP相关用途。
用搬瓦工香港CN2 GIA VPS搭建网站体验
这套最低配的搬瓦工香港CN2 GIA VPS安装上宝塔面板,配置默认的LNMP环境后,内存还剩1.5G,硬盘剩余33GB,完全够用来架设小型网站。得益于CN2 GIA优化线路,到内地的访问速度快延迟低,三网用户体验都不错。相比内地机房,省去了备案麻烦,特别适合想快速搭建外贸或者面向国内用户的个人站长和企业。






