搬瓦工美国纽约CN2 GIA VPS测评 - 硬件性能与网络体验详解
搬瓦工的朋友们好!今天给大家带来一篇关于搬瓦工美国纽约CN2 GIA VPS的超详细测评,从硬件配置、网络表现到视频播放和建站实操,全方位帮你了解这款VPS到底值不值得买。顺带给大家推荐几个实用的资源链接,帮你找到最合适的套餐和优惠活动。
搬瓦工套餐详情可以看这里:http://www.vpsxxs.com/banwagong20250819/
最新促销活动更新在这里:http://www.vpsxxs.com/tag/banwagong/
想第一时间知道搬瓦工补货?加群聊:搬瓦工补货通知QQ群
搬瓦工美国纽约CN2 GIA VPS的硬件配置表现
硬件测试图示
先聊聊硬件,搬瓦工这款纽约CN2 GIA VPS用的是Intel Xeon双核处理器,主频2.60GHz,虽然性能算不上顶尖,但表现还是挺稳定的。值得说的是,搬瓦工最近正在逐步升级所有机房的CPU到AMD系列,性能提升指日可待。
内存显示有1055MB,另外系统还给配了544MB的虚拟内存,看来对国人用户的需求蛮了解的。硬盘容量20.4GB,平均读写速度高达828MB/s,硬盘响应挺给力。整个平台采用KVM虚拟化,装系统时自带BBR加速,让网络表现更流畅。
网络速度与路由测试:国内访问速度很惊喜
国内外上传下载速度一览
网络方面,下载速度超给力!到国内的下载速度跑满1.3G,而到亚洲其他节点甚至飙到4G,带宽资源确实充足。上传速度更是让人满意,国内三大运营商的节点上传基本都能稳定在400M以上,这对喜欢用CN2 GIA线路的朋友来说非常难得,毕竟一般电信带宽对CN2线路上传都会限速在200M左右。
国内多运营商ping延迟测试
说到延迟,平均212ms的ping值对于美国东部机房来说已经很不错了。虽然和美国西部机房160ms以下的延迟比起来有差距,但纽约、芝加哥这样的东部节点能做到这个延迟,已经算是顶尖水平了。毕竟从国内访问美国东部,数据包得先到西海岸再穿越美国大陆,路由自然会长一些。
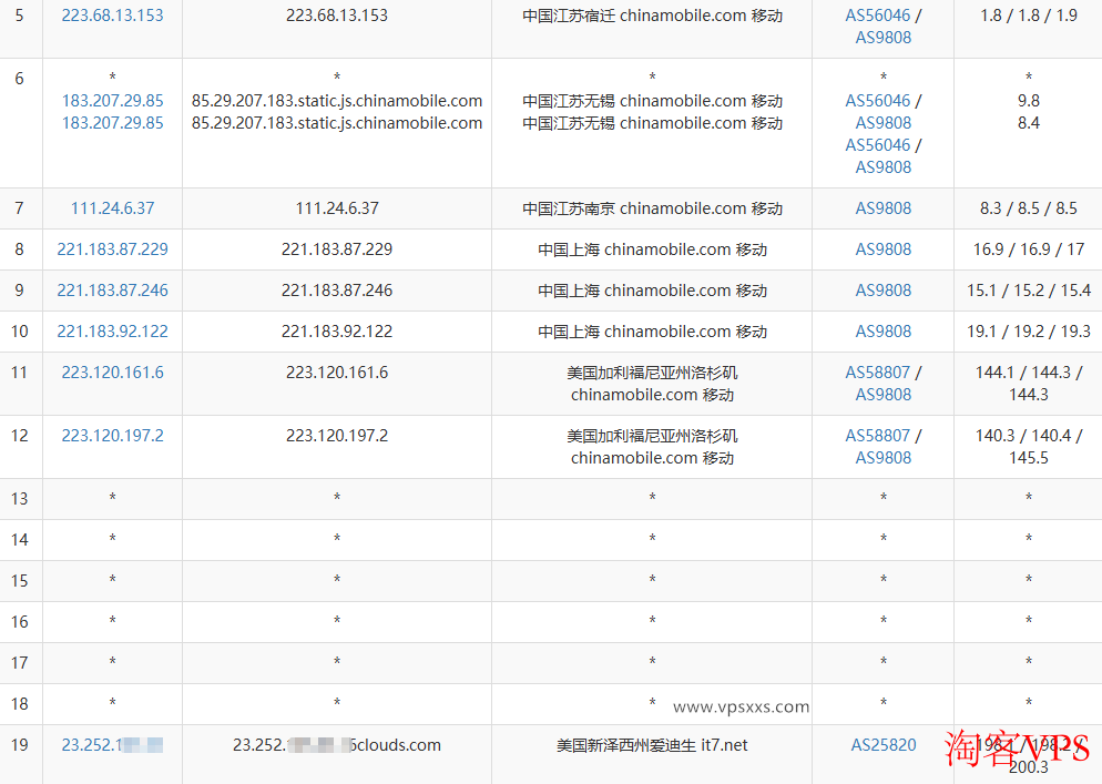
三大运营商路由解析
电信去程路由
电信回程路由
联通去程路由
联通回程路由
移动去程路由
移动回程路由
总结一下,电信走的是省内开始就直连的59.43 CN2线路(CN2 GIA),去程和回程都走CN2,堪称标准的CN2 GIA路线。联通的去程用自己的AS9929线路,回程则借助电信的CN2线路。移动则是用AS58807的CMIN2线路往返直连美国。这意味着三大网络的访问路由都经过了优化,走的是最贵也最稳定的线路,网络质量杠杠的!
视频播放体验和流媒体解锁能力
原生IP检测截图
TikTok解锁能力测试
流媒体解锁能力测试
经过检测,这款VPS被识别为美国原生IP,支持美区TikTok、Netflix和多个AI平台的访问解锁,基本覆盖了多数主流美区流媒体需求。如果你是做视频直播或者需要访问美区服务的,这台VPS的解锁能力非常值得期待。
ipinfo.io住宅IP检测结果
IP质量体检结果
ping0.cc家宽IP检测
虽然IP检测工具都显示这台VPS是典型机房IP(非住宅IP),但IP纯净度很高,开放了25端口,邮件通讯和大多数网络服务都能正常使用。搬瓦工一向以稳定和纯净的机房IP著称,做TikTok直播的朋友也可以把它当中转机使用,体验不会差。
流畅的YouTube播放实测
YouTube 4K视频播放体验
我本地用的是移动宽带,测试用这台美国纽约CN2 GIA VPS看4K视频,速度9万多kbps,播放非常流畅不卡顿。虽然速度不及美国西部机房那么猛,但对于美国东部机房来说已经相当给力了。联通用户估计速度差不多,电信用户因走CN2 GIA线路可能还会更快些。
安装宝塔面板搭建网站体验
宝塔面板安装完成界面
我在这台最低配的搬瓦工美国纽约CN2 GIA VPS上安装了宝塔建站面板,配置了默认的LNMP环境。运行后内存还剩426MB,硬盘还空着15GB左右空间。虽然内存稍小,但完全够用来搭建小型网站。由于三网往返都是直连优化线路,特别适合想用美国东部机房面向国内用户建站的朋友,访问速度表现会很平稳。













