AkileCloud德国BGP VPS测评–硬件性能与网络实测解析
想找性价比不错的德国BGP VPS吗?AkileCloud最近有两个套餐,Mini版月付只要9.9元,Starter版19.9元,挺适合入门用户的,点击这里了解最新促销情况。
硬件配置实测:真用E5-2698v4双核处理器
直接上硬件测试:这款VPS确实搭载了Intel E5-2698v4处理器,双核主频2.20GHz,性能稳定。内存显示大约3933M,没有开启默认虚拟内存。硬盘容量50GB,速度测得读写约96MB/s,属于传统石头盘的表现。至于硬盘性能,AMD平台会不会更好,暂时没测,不过KVM虚拟化加上系统自带的BBR加速,整体体验挺流畅的。
网络速度和网络路径分析
速度方面相当亮眼:无论国内还是国外,下载速度都能达到2Gbps,这对于流量需求大的用户来说非常友好。上传速度方面,国内主流运营商上传带宽基本都超过300Mbps,尤其是欧洲节点上传更快,适合需要稳定上传的业务。
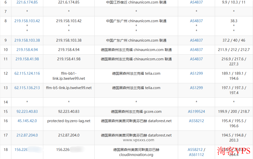
不过,延迟表现稍微逊色点,平均延迟大约233毫秒。虽然德国机房有优化线路,但BGP线路和10Gbps大带宽意味着线路不一定走直连,毕竟国际线路绕路比较常见。
三大运营商路由走向揭秘
🔍猜你喜欢
-
香港vps
吉云香港CMI VPS深度测评—硬件性能与网络体验解析
吉云香港CMI VPS搭载E5-2697A v4处理器,内存991MB,硬盘读写达503MB/s,硬件性能良好。200Mbps带宽,国内上传速度180M以上,延迟约89ms,三网回程均走CMI直连线路。支持香港原生IP,能解锁多种港区流媒体,视频播放流畅,4K秒缓冲。安装宝塔面板后剩余资源充足,适合搭建面向国内及东南亚用户的小型网站。整体网络和性能表现稳定可靠。
2025-12-21 178 -
香港vps
荫云香港HGC VPS测评 - 性能网络与流媒体体验详解
荫云香港HGC VPS采用Xeon双核2.0GHz处理器,配置2G内存和20GB SSD,网络带宽300Mbps,上传速度高达190Mbps,适合东南亚用户使用。IP为香港原生家宽,纯净无风险,支持解锁香港主流流媒体。三网路由绕路严重,延迟较高,影响内地用户访问体验。适合搭建面向本地及海外的中小型网站。
2025-12-11 216 -
香港vps
丽萨主机英国catixs VPS测评–硬件性能与网络体验全解析
丽萨主机英国catixs VPS采用E5-2683v4处理器,硬件性能一般,但网络表现出色,最低配300M带宽,实测下载270M,上传高达800M,适合中国用户。其英国原生IP支持解锁英国TikTok、Netflix等流媒体,IP质量纯净,回程线路优化良好。延迟约225ms,适合视频直播和搭建小型网站,整体性价比高,适合对上传带宽和流媒体有需求的用户。
2025-10-27 251 -
外国VPS
Hostwinds美国西雅图VPS测评 - 硬件性能与网络体验详解
Hostwinds美国西雅图VPS搭载E5-2620v3处理器,性能一般但内存和硬盘容量充足。网络上传下载速度均超600Mbps,流媒体支持美区Netflix、TikTok等,确认使用美国原生IP。国内平均延迟约200ms,联通回程路由绕德国,整体路由表现一般。实际观看4K视频流畅,建站安装宝塔面板后资源充裕,适合搭建小型网站及流媒体应用。
2025-10-25 254 -
欧美服务器推荐
吉云美国4837双ISP VPS深度测评 - 硬件与网络全解析
吉云美国4837双ISP VPS搭载AMD EPYC 7532处理器,内存991MB,硬盘读写速度达681MB/s,性能优异。网络方面,下载速度可达900M,国内三网上传稳定在400M,延迟约187ms。路由采用双ISP,回程走联通AS4837线路,IP为美国原生住宅宽带,纯净度高,具备解锁美国主流流媒体能力。适合视频播放、TikTok直播和搭建国内外网站,整体表现稳定且性价比高。
2025-10-20 246 -
外国VPS
CN2线路详解 - 国际网络加速与低延迟选择
CN2线路是中国电信推出的新一代高速骨干网,常用于提升国际访问速度和稳定性。它分为CN2 GT和CN2 GIA两类,后者速度更快、延迟更低,适合跨境电商、外贸企业及游戏玩家等。相比普通线路,CN2线路访问海外服务器更流畅,但价格也略高。
2025-10-06 238 -
欧美服务器推荐
畅享流畅视频 - zlidc韩国双ISP家宽服务器测评
zlidc韩国双ISP家宽服务器凭借高纯净度的韩国住宅IP和结合两大ISP的优势,提供了卓越的网络稳定性和高速性。在视频播放中,它支持无缓冲的1080P和4K视频,高并发情况下表现稳定;在Tiktok直播中,延迟低且不需中转服务,保障顺畅互动。对于内容创作者和视频爱好者来说,这是一款高效、可靠的网络解决方案。
2024-11-11 368
