VMISS怎么样?第2次测评香
VMISS怎么样?香港Netlab机房的香港BGP V3新套餐参见:VMISS新上香港BGPV3节点,全场8折21元/月起,可选CN2 GIA/9929/CMIN2等,这里继续简单测评下其性能怎么样,测评机器是列表中第一款。
KVM虚拟,纯SSD raid10,一个IPv4,100Mbps带宽;以下为原价,请注意使用8折循环优惠码:20%off
| CPU | 内存 | SSD | 带宽/流量 | 月付 | 链接 |
| 1核 | 1G | 10G | 100Mbps/300G | 5加元 | 链接 |
| 1核 | 1G | 15G | 100Mbps/600G | 10加元 | 链接 |
| 1核 | 2G | 20G | 100Mbps/1000G | 16加元 | 链接 |
| 2核 | 2G | 40G | 100Mbps/1600G | 30加元 | 链接 |
| 2核 | 4G | 80G | 100Mbps/3000G | 60加元 | 链接 |
简单测评数据如下:
基础信息

ping网络延迟

国内节点丢包率

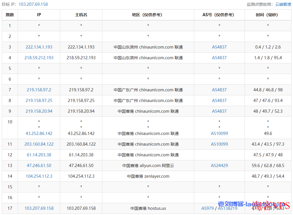
去程路由



回程路由

流媒体解锁

总结:VPS性能还不错,可以自行对照上面的测试数据。路由方面,三网双程直连,电信双程cn2,联通双程AS4837,移动双程cmi。
